第一部分 调度台
登录调度台,在上方工具栏中点击“巡更”按钮;

■ 点击“巡更”按钮,进入弹出的“巡更页面”。

1.1 设备信息
设备信息是指对巡更过程中需要巡查的设备进行设置。
■ 页面右侧列表选择【巡更设置】-【设备信息】,进入之后其界面如下所示:

■ 点击
按钮 ,可以新建设备信息,界面如下所示;
■ 填写设备名称,即需要巡更的设备名称;
■ 填写射频卡号
■ 备注信息(选填);
■ 点击【保存】,添加设备完成。

■ 可对设备信息列表中的设备进行“修改”“删除”“打印”“搜索”“查看”等操作。

1.2 巡更路线设置
巡更线路设置是指对巡更过程中所走的路线进行描述。
■ 右侧列表选择【巡更设置】-【巡检路线设置】,点击进入之后,其界面如下所示:

■ 如需设置新线路,可点击“
”按钮,
■ 依次填写需设置的信息“路线名称”“路线描述”“起点及终点”,点击保存。如下图所示:

1.3 巡更路线及设备明细
线路及明细是设置每条线路需要巡视哪些设备。
■ 选择【巡更设置】-【路线及明细】,进入该页面;
■ 页面操作区左侧是成树形结构呈现,点击线路名称前的加号“
”,即可点开树形结构,可以查看该线路下包含的设备名称;
■ 点击线路名称前的减号“
”,即可关闭树形结构,仅显示线路名称;

■ 如需对“巡更路线”添加“设备信息”,可点击相应的“路线名称”;
■ 在右侧的编辑区内,点击下拉菜单选择需要添加的“设备名称”,点击“保存”,该路线下的设备添加成功。如需删除路线下的设备,则点击删除按钮即可。



1.4 计划名称设置
该功能是对巡更计划进行命名,方便巡逻计划执行。
■ 选择【巡更设置】-【计划名称】,进入该页面;

■ 点击进入之后,如需添加新的计划,点击5按钮;
■ 填写“计划名称”、“备注信息”点击保存。如下图所示:


1.5 计划设置
该功能是针对巡更计划具体内容进行设置。
■ 选择【计划设置】-【计划设置】,进入该页面;

■ 点击5按钮,选择“计划名称”、“巡更路线”;
■ 选择“开始日期”、“结束日期”;
■ 填写“开始时间”、“结束时间”,格式为:00:00:00;
■ 选择“巡更人员”;
■ 以上信息填写完成后,点击“保存”,巡更计划生成。

第二部分巡更软件使用(APP)
1.6 巡更使用
巡更功能使用需登录终端进行操作。
■ 登录集群通APP,选择“巡更”图标;
■ 页面提示“请将手机贴近卡片识别”,将设备贴近“贴有射频卡的巡检设备”;
■ 终端巡更成功后发出“滴答”声,提示并语音播报“巡更打点完成”,若巡更设备的射频卡号未录入,则提示并语音播报“未发现当前巡更点信息”。
注:需提前将巡更设备的射频卡号在巡检管理页中录入;
详见本说明第3章第2节《设备信息》。


1.7 RFID标签供应商
■ RFID标签供应商可自行购买;
■ 推荐供应商地址如下:
https://shop112374672.taobao.com/
产品信息:

第三部分:巡更管理
1.8 主页面
主界面依据管理员的身份进行展示。主界面如下所示:
■ 上方为标题显示区,左侧为菜单显示区,右下方为数据显示区。
■ 菜单排序方式为常用的数据放在最上方,不常使用的功能放在下方。
■ 巡更数据统计区将显示过去七天内的巡检数据,其中红色的是计划中应巡但未巡的数据,蓝色是计划中已巡数据。将鼠标放置在某一条的数据上,将自动弹出该天工作情况:异常和正常数据。

1.9 数据查看
■ 选择【数据查看】-【历史数据】进入页面,通过折线图对巡更数据进行统计。
■ 折线图下面的列表用来显示巡检人员在何时对设备进行了检查。
■ 在该界面可以查询某一时间段巡检人员或设备信息。
注:
按“起始时间段”维度查询,查询结果对列表生效,也对折线图展示结果生效。
按“设备名称”或“巡检人员”维度查询,其查询结果只对列表生效,折线图展示结果不变。


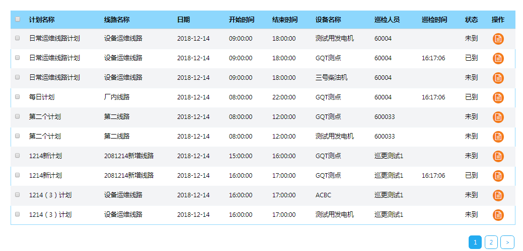
1.10 计划查看
■ 计划查看里的计划实施功能,用来展示计划实施的所有情况。
■ 选择【计划查看】-【计划实施】进入页面。
■ 折线图通过不同颜色来表示巡更正常(蓝色)和异常项目(红色)的数量。
■ 同时可以选择不同的时间段进行条件查询。
注:
按“起始时间段”维度查询,查询结果对列表生效,也对折线图展示结果生效。
按“计划名称”、“巡检线路”、“已到”、“未到”维度查询,其查询结果只对列表生效,折线图展示结果不变。


1.11 用户管理
■ 选择【用户管理】-【用户清单】进入页面。
■ 【用户清单】里的用户由“集群通运营管理平台接口人”系统导入生成,详见本说明第2章《用户信息导出与编辑》。
■ 用户角色由管理员和点检员组成,用户界面的数据仅可以访问,无法进行增加操作,如需增加请联系“集群通运营管理平台接口人”进行人员操作。
■ 用户管理界面如下所示:
